Projects:RegistrationLibrary:RegLib C06b

From NAMIC Wiki
Jump to: navigation, search
Home < Projects:RegistrationLibrary:RegLib C06b

Back to ARRA main page
Back to Registration main page
Back to Registration Use-case Inventory

v3.6.3This case is complete and up to date for version 3.6.3 Registration Library Case #6B: RSNA 2011 DEMO Breast MRI Treatment Assessment

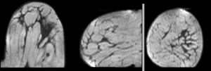
this is the fixed reference image: PreRx Breast MRI with large tumor mass lleft this is the moving image, to be registered with the reference above: PostRx Breast MRI with tumor largely absent
fixed image/target
pre Rx MRI
moving image
post Rx MRI

Modules

Objective / Background

We seek to align the post-treatment (PostRx) scan with the pre-treatment scan to compare local effects (left side only).

Keywords

MRI, breast cancer, intra-subject, treatment assessment, change detection, non-rigid registration

Download

Input Data

  • reference/fixed : 0.44 x 0.44 x 5 mm , 784 x 784 x 30
  • moving: 0.68 x 0.68 x 1.5 mm, 515 x 515 x 93


Methods

  • Phase 1: affine alignment
  1. Go to the BRAINSfit module
    1. select Presets "Xf1_Affine" or set the parameters as given below:
    2. fixed image: "PreRx_left", moving image: "PostRx_left"
    3. Initialize with previous transform: select "Off"
    4. Initialize Transform Mode: check box for use MomentsAlign
    5. Registration Phases: check boxes for Include Rigid ..." and Include Affine registration phase
    6. Output: under Slicer Linear Transform, select new and rename to "Xf1_Affine" or similar
    7. Registration Parameters: this first phase is for initial alignment, we optimize/push for speed
      1. reduce "Number of Iterations" to 200
      2. reduce "Number of Samples" to 20,000
    8. leave rest at defaults
    9. Click Apply. Execution time ~ 4 seconds
  • Phase 2: BSpline alignment
  1. Go to the BRAINSfit module
    1. select Presets "Xf2_BSpline1" or set the parameters as given below:
    2. fixed image: "PreRx_left", moving image: "PostRx_left"
    3. Initialize with previous transform: select "Xf1_Affine" from phase 1 above
    4. Initialize Transform Mode: check box for Off
    5. only check box for Include BSpline registration phase" , all other boxes off.
    6. Registration Parameters: set "Number of Samples" to 200,000 at least
    7. Output:
      1. Slicer BSpline Transform, select new and rename to "Xf2_BSpline" or similar
      2. Output Image Volume: select new and rename to "PostRx_left_Xf2" or similar
      3. Output Image Pixel Type: check box for "ushort"
    8. Registration Parameters:
      1. set "Number of Samples" to 100,000
      2. set Number of Grid Subdivisions to 7,7,5
      3. set Maximum B-Spline Displacement to 10 [mm]
    9. Click Apply. Execution time ~ 60 seconds

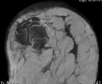
Registration Results

unregistered unregistered
affine registered affine
Bspline registered BSpline 9x9x4 max 15mm
Bspline registered Deformation field for BSpline 9x9x4 max 10mm
Bspline registered BSpline 7x7x5 max 10mm


After N4 bias correction and histogram equalization:
unregistered unregistered
affine registered affine
Bspline registered BSpline 7x7x5 max 10mm
Bspline1 deformation only Deformation of Post image from unmasked BSpline 7x7x5 max 10mm


Bspline registered + tumor mask BSpline 7x7x5 max 10mm + tumor mask
Bspline1 deformation only Deformation of Post image from masked BSpline 7x7x5 max 10mm


EXPERIMENTAL: BRAINSDemonsWarp
Demons Defaults.png Demons: defaults
Demons Demons.png Demons: cost fn: Demons
Demons FastSymm.png Demons: cost fn: FastSymm
Demons LogDemons.png Demons: cost fn: LogDemons
Demons SymmetricLogDemons.png Demons: cost fn: SymmetricLogDemons
Demons SymmetricLogDemons Masked.png Demons: cost fn: SymmetricLogDemons_Masked


Discussion: Registration Challenges

  • soft tissue deformations during image acquisition cause large differences in appearance
  • the large tumor recession represents a significant pre/post difference in image content that will influence unmasked intensity-driven registration, which becomes a problem for the non-rigid portion of registration, particularly at higher DOF, because the registration will try to "recreate" the tumor area from the postRx image in order to match the content.
  • contrast enhancement and pathology and treatment changes cause additional differences in image content
  • the surface coils used cause strong differences in intensity inhomogeneity.
  • we have strongly anisotropic voxel sizes with much less through-plane resolution
  • resolution and FOV change between the two scans

Discussion: Key Strategies

  • because of the strong changes in shape and position, we break the problem down and register each breast separately.
  • we perform a bias-field correction on both images before registration
  • we use the Multires version of RegisterImages for an initial affine alignment
  • the nonlinear portion is then addressed with a BSpline or DiffeomorphicDemons algorithm
  • because accuracy is more important than speed here, we increase the sampling rate (i.e. the number of points sampled for the BSpline registration)